SXZ-A型測力稱重傳感器、變送器
- 產品分類:稱重測力傳感器
- 全國咨詢熱線:
- 13907318074
分享到:
概述
SXZ-A型測力稱重傳感器,采用雙梁剪切彈性體結構,具有體積小、低高度、性能穩定、強度高、抗偏載、安裝方便等特點。適應于惡劣環境、野外勘探、石油測井儀配套元件使用。
主要技術指標
非線性誤差 ≤±0.5℅F.S
滯后誤差 ≤±0.5℅F.S
重復性誤差 ≤±0.5℅F.S
輸出靈敏度 1~2.5mV/V
溫度零點影響 0.04℅F.S/℃
輸出阻抗及橋壓 350Ω/10VDC
絕緣電阻 ≥2000ΜΩ
過載能力 150℅F.S
工作環境溫度 -30℃~+60℃
系列規格 80、100、140、 150、200(KN)
變送器輸出 0~5VDC 0~10VDC 1~5VDC 0~10mA 0~20mA 4~20mA
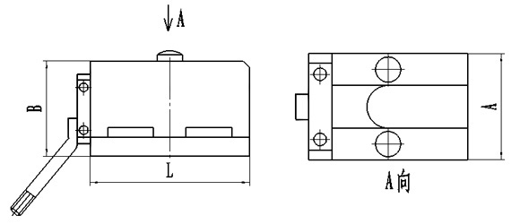
外形尺寸單位(mm)
SXZ-A型測力稱重傳感器,采用雙梁剪切彈性體結構,具有體積小、低高度、性能穩定、強度高、抗偏載、安裝方便等特點。適應于惡劣環境、野外勘探、石油測井儀配套元件使用。
主要技術指標
非線性誤差 ≤±0.5℅F.S
滯后誤差 ≤±0.5℅F.S
重復性誤差 ≤±0.5℅F.S
輸出靈敏度 1~2.5mV/V
溫度零點影響 0.04℅F.S/℃
輸出阻抗及橋壓 350Ω/10VDC
絕緣電阻 ≥2000ΜΩ
過載能力 150℅F.S
工作環境溫度 -30℃~+60℃
系列規格 80、100、140、 150、200(KN)
變送器輸出 0~5VDC 0~10VDC 1~5VDC 0~10mA 0~20mA 4~20mA
外形尺寸單位(mm)
| 測量范圍 | L | A | B |
| 80、100、140、150、200(KN) | 126 | 84 | 75 |
| 80、100、140、150、200(KN) | 97 | 84 | 69 |
| 80、100、140、150、200(KN) | 100 | 92 | 75 |




